Преимущества покупки гидравлического пресса
Выбор в пользу заводского оборудования принесет следующие преимущества:
- длительную безаварийную эксплуатацию установки сроком до 7 лет и более;
- возможность использования пресса в любых нужных условиях;
- большие объемы и высокую скорость переработки ТБО: от 80 до 2100 кг за час.

Заводские установки отличаются надежной, эффективной работой и полностью решают задачу утилизации отходов на предприятиях. Использование оборудования обеспечивает сокращение объема мусорных контейнеров до 75%, сокращение необходимого для вывоза транспорта в 3─5 раз, общую экономию на утилизационной статье расходов до 30%. ← Вернуться к списку статей
Классическая конструкция из домкрата
Создать классический ручной пресс из домкрата довольно просто. Сначала из толстого швеллера изготавливается рама. Ее угловые части усиливаются стальными листами, которые повышают прочность всей конструкции.
На изготовленную раму устанавливают подвижный элемент, отвечающий за прессование изделий. Специалисты советуют установить на нем специальные ограничители, которые смогут лучше зафиксировать работающий домкрат.
Некоторые оснащают оборудование упорным штоком. Его изготавливают из подшипниковых валов. Упорный шток используют для повышения устойчивости прессовочной конструкции.

Настольные прессы
Настольные гидропрессы – одни из самых компактных. Конструкция не ютится на полу, но вкручивается в стол или верстак. Если в помещении недостаток пространства, то настольный пресс идеально подойдёт. Максимальное усилие – 15 тонн, и этого не всегда достаточно. Из-за компактности такой пресс не может работать с габаритными деталями.
Основа конструкции – электрический двигатель. Развивающееся усилие – от 50-и тонн и выше. Для производственных предприятий и СТО для обслуживания крупногабаритных авто незаменим. Электропривод повышает скорость выполнения работ и исключает приложение какого-либо физического усилия в процесс.
Требования охраны труда во время работы.
3.1. При работе на прессе быть внимательным, не отвлекаться посторонними делами и разговорами, не допускать к прессу посторонних лиц, соблюдать требования охраны труда. Самостоятельно устранять неполадки в работе пресса -запрещается. В случае ремонта или возникшей неисправности вывешивать плакат «Не включать — работают люди».
3.2.Выполнять указания по обслуживанию и уходу за прессом изложенные в «Руководстве по эксплуатации». Работать только в режиме двуручного управления. Заклинивать кнопки, блокировать рукоятки для управления прессом одной рукой- запрещается.
3.3.Необходимо соблюдать допустимые нормы подъема тяжестей. Предельно допустимые нормы поднятия и перемещения тяжестей постоянное в течении рабочей смены: для мужчин — 15 кг для женщин — 7кг. При чередовании с другой работой (до 2-х раз в час ) для мужчин — до 30 кг для женщин — до 10 кг.
3.4.Смену деталей при работе на прессе производить только при крайнем верхнем положении штока .
Держать деталь при установке в приспособление, на пуансон или снятии с приспособления, пуансона за те поверхности, где исключается травмирование при самопроизвольном опускании штока.
3.5.При дорновке не допускать перекосов дорна в деталях. Не поправляйте дорн в детали при ходе штока.
При запрессовке деталей следить, чтобы не было перекосов деталей. Не поправлять детали при ходе штока.
3.6.Не допускать холостых срабатываний штока. При отключении пресса шток должен находиться в нижнем положении.
3.7. При застревании детали в приспособлении, немедленно выключить пресс, известить наладчика или мастера. Самостоятельно удалять застрявшую деталь запрещается.
3.8 Во время работы следить за исправностью всех узлов и механизмов пресса, приспособлений; ходом технологического процесса и отсутствием брака в изготавливаемых деталях.
3.9. Запрещается заклинивать одну из кнопок или рукояток. Расстояние между кнопками или рукоятками должно быть не менее 300 мм и не более 600 мм.
3.10. Запрещается снимать защитные ограждения закрывающие подвижные части пресса.
3.11. Детали и узлы складировать в специальную тару, предусмотренную технологическим процессом.
3.12. Не обрабатывать детали дорном и приспособлением, для которых данный дорн и приспособление не предназначены.
3.14 Не допускать загромождения рабочего места и проходов тарой .
3.15 Обязательно отключать пресс в случае:
— ухода с рабочего места даже на короткое время;
— временном прекращении работы;
— перерыве в подаче электроэнергии;
— в случае неисправности пресса.
— обнаружении брака в изделиях и нарушении технологического процесса.
Самодельный пресс из домкрата своими руками
Если требуется сделать самодельный пресс, основой которого станет домкрат, то сначала, не излишним будет приобрести таковой элемент, как подъемник и дальше, все нужные приспособления и начальные строй материалы.
Нужные материалы:
- Домкрат;
- Шлифовальная машинка;
- Железный профиль;
- Прямоугольная толстая труба;
- Металлический уголок;
- Полосы из стали шириной в 10 мм;
- Труба поперечником, равным радиусу штока;
- Железный лист (250х100 мм, шириной около 10 мм);
- Две крепкие пружины.
Процесс сборки. Сначала создаем надежную опору, чтоб вся система не упала. Для этого скрепляем меж собой четыре железных профиля. Дальше, собираем нижнюю часть и вертикальные упоры из плотной трубы. Стоит держать в голове, что все размеры должны учесть наивысшую высоту вылета цилиндра, габариты домкрата и объемы съемного элемента.
Длина нижней части обязана приравниваться длине всего пресса. Свариваем все части (нижнюю, основную часть и упоры). Добавляем уголки. Станина готова. Дальше, создаем подвижный упор, подходящий для снятия. Для данной цели употребляются мелкие железные полосы, скрепленные снова же, с помощью сварки. Просверливаем несколько отверстий –это дозволит несколько прирастить место для движения упора и застопорить его в подходящий момент. Можно создать эту часть мало проще. Для этого будет довольно применить остаток трубы, применяемой при сборке станины. Ширина ее обязана быть в пару раз меньше расстояния меж опорными столбами. К трубе нужно прикрепить две направляющих детали при помощи болтов.
Займемся домкратом. Для его установки будет нужно незначительно двинуть передвигающуюся часть пресса и расположить домкрат меж центральной площадкой(станиной) и самим упором. Конец верхнего цилиндра должен оказаться в фиксаторе. Крепим домкрат к подвижному элементу всей конструкции.
Преимущества покупки гидравлического пресса
Выбор в пользу заводского оборудования принесет следующие преимущества:
- длительную безаварийную эксплуатацию установки сроком до 7 лет и более;
- возможность использования пресса в любых нужных условиях;
- большие объемы и высокую скорость переработки ТБО: от 80 до 2100 кг за час.

Заводские установки отличаются надежной, эффективной работой и полностью решают задачу утилизации отходов на предприятиях. Использование оборудования обеспечивает сокращение объема мусорных контейнеров до 75%, сокращение необходимого для вывоза транспорта в 3─5 раз, общую экономию на утилизационной статье расходов до 30%. ← Вернуться к списку статей
Устройство и функции гидравлического пресса
Гидравлический пресс – это такое оборудование, которое специально предназначено для обработки деталей и заготовок путем воздействия на них высоким давлением. Работает такой пресс за счет давления жидкости, воздействующей на элементы его конструкции.
Конструкция большинства гидравлических прессов предусматривает вертикальное расположение рабочего цилиндра, но есть и модели, в которых он расположен горизонтально. Различные модели прессов могут создавать рабочие усилия в диапазоне от нескольких десятков до нескольких тысяч тонн.

Вариант исполнения гидравлического пресса заводского производства
Принцип действия гидравлического пресса основан на законе Паскаля, известном нам из школьного курса физики. Конструкцию пресса составляют две рабочих камеры разного размера или, как их еще называют, цилиндры. Принцип работы гидравлического пресса, если описать его несколькими словами, заключается в следующем.
В меньшем из его цилиндров создается высокое давление рабочей жидкости, которая по соединительному каналу подается в камеру большего диаметра и воздействует на поршень, соединенный с рабочим инструментом. Последний и оказывает давление на обрабатываемую деталь, которая располагается на жесткой опоре во избежание ее перемещения под его действием. В качестве рабочей жидкости во всех гидравлических прессах используются специальные масла.

Принцип работы гидравлического пресса
Наиболее широкое применение гидравлические прессы нашли при выполнении таких операций над металлическими деталями, как штамповка, ковка, правка, гибка, выдавливание труб и других профилей. Кроме того, при помощи таких прессов выполняется брикетирование, пакетирование и прессование различных материалов (как правило, для этих целей используется мини-пресс).
Устройство гидравлического пресса позволяет активно использовать его как на предприятиях по производству изделий из резины, пластика и древесины, так и в других областях. Разнообразие функций и сфер применения этого оборудования определяют существование его различных модификаций. Например, в продаже можно найти пресс гидравлический настольный, мини-пресс, пресс гидравлический напольный, пресс гидравлический ручной, прессы с манометром и без.
Из чего можно сделать гидравлический прессовальный станок
Самым популярным приспособлением для изготовления гидравлического пресса является домкрат, действия которого основаны на принципе работы гидравлики. Согласно законам физики, жидкость в нем под давлением не уменьшает свой объем. Поэтому при воздействии на обрабатываемую заготовку потеря мощности не наблюдается. К тому же домкрат характеризуется высоким КПД, благодаря которому можно рассчитывать на значительную силу сжатия.
Для изготовления самодельного устройства можно воспользоваться схемой гидравлического пресса из домкрата, которую можно найти в интернете. На первом этапе создается каркас конструкции из стальной профилированной трубы, металлических уголков и пластины. Между упорной пластиной и платформой устанавливается домкрат, причем необходимо, чтобы при задвинутом положении наконечник штока находился внутри фиксатора. Основание инструмента крепится к подвижному упору при помощи болтов.

Для изготовления гидравлического пресса своими руками используют домкрат
Для опрессовки металлических заготовок изделие укладывается на платформу, домкрат поднимается при воздействии на его рычаг. При этом происходит процесс прессования
Важно знать, как опустить гидравлический домкрат, что необходимо сделать по окончании работы. Для этого инструмент оснащен перепускным клапаном. Он представляет собой круглую головку с выступающими плечами
Его необходимо ослабить, в результате чего устройство опустится
Он представляет собой круглую головку с выступающими плечами. Его необходимо ослабить, в результате чего устройство опустится.
Домкрат также имеет запорный клапан, который в закрытом состоянии накачивает масло в поршень. Нормальная работа устройства свидетельствует о достаточном количестве жидкости в системе. Если инструмент начал работать медленно или полностью остановился, это означает, что в нем мало рабочей жидкости. Необходимо знать, как заправить масло в гидравлический домкрат. Для этого существует специальная заливная пробка на корпусе устройства, которую следует открутить. Далее происходит наполнение резервуара до нужного объема. По окончании процедуры выполняется прокачка домкрата.
Ручной гидравлический пресс является многофункциональным оборудованием, которое широко применяется в автосервисах. Это незаменимый помощник для домашней мастерской
При выборе устройства важно определиться со сферой его использования. Для бытовых целей достаточно устройства, рассчитанного на усилие до 20 тонн, а для крупного СТО нужен гидравлический пресс 50 тонн. Можно сэкономить денежные средства, изготовив своими руками пресс из домкрата
Можно сэкономить денежные средства, изготовив своими руками пресс из домкрата.
Общая информация о брикетах
Сырьем для данного вида биотоплива являются мелкие древесные отходы, в основном опилки. Конечно, их можно жечь и так, но это не очень удобно, топлива уходит много и оно быстро прогорает. А все потому что плотность древесной массы невелика, куда больше тепла получится, если сырье предварительно спрессовать. В этом и заключается технология производства брикет.
Вначале происходит переработка опилок и других отходов, их измельчение и просушивание. Влажность сырья перед прессованием должна находиться в пределах 6-16%, что и обеспечивает сушильное оборудование. Затем идет собственно изготовление топлива, что производится двумя способами:
- с помощью гидравлического пресса сырье формуется в брикеты прямоугольной или цилиндрической формы. Процесс проходит при давлении от 30 до 60 МПа и высокой температуре;
- методом экструзии на шнековом прессе из готовой смеси выдавливается брикет 4-х или 6-гранной формы под давлением около 100 МПа. Изделие проходит термическую обработку.
Следует отметить, что производство топливных брикетов из опилок не предусматривает добавления в состав смеси связующих компонентов. Под воздействием высокого давления и температуры частицы склеиваются лигнином, он содержится в любой древесине. В результате получаются «кирпичики» или «колбаски», чья теплотворная способность составляет до 5 кВт/кг. Производственный процесс показан на видео:
Как сделать пресс из домкрата своими руками?
В основу данного оборудования входит надежная рама. Она изготавливается из швеллера или металлических углов.
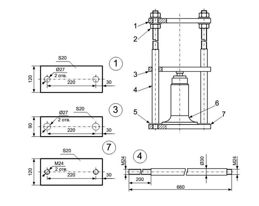
Как сделать самодельный пресс из домкрата своими руками, чертеж
| Шаг | Описание |
Рама используется со сдавливющим усилием до 5 тонн | 1 (упорна балка сверху); 2 (крепежные элементы); 3 (домкрат до 20 т); 4 (пружинный механизм); 5 (подвижная конструкция); 6 (стопор); 7 (приспособление для регулировки); 8 (поперечная конструкция); 9 (опорные ножки). |
| Все надежно закреплено | Возможны два варианта: при помощи, что надежнее. Есть монтаж на болтах |
Гидравлический пресс своими руками из домкрата чертеж с болтовым соединением | Здесь необходимо точно рассчитать усилие пресса |
Монтаж балки понадобится для большей жесткости | Опорный элемент можете придумать сами, в зависимости от воображения. Наличие перекладины снизу обязательно, для жесткости. |
Совет! При производстве гидравлического пресса из домкрата в первую очередь нужно обеспечить прочность рамы, именно на нее будет оказываться нагрузка.
Какой домкрат подойдет для нашей конструкции
На сегодняшний день чаще всего используется для производства гидравлического пресса стаканный домкрат. Есть недорогие устройства, которые в состоянии выжимать более двадцати тонн.
Стаканный гидравлический домкрат
Примечание! Но есть проблема в использовании подобного оборудования, они не способны функционировать в перевернутом состоянии.
Вроде логично, закрепить домкрат на верхней балке, а нижнюю использовать, как опору, но в этом случае домкрат придется дорабатывать.
Переделка конструкции:
- Вариант 1: устанавливаем бак и связываем его с отверстием для заливки домкрата при помощи силиконовой трубки.
- Вариант 2: потребует новой разработки самого домкрата.
Работа системы прижима
Чтобы сделать пресс из гидравлического домкрата своими руками, предусматривается формирование штока. Многие мастера утверждают, что он не удобен в работе. Нужна большая площадь для разработки различных, крупных пресс-форм и деталей больших габаритов.
В роли колодок можно использовать чушки, в которых делаются глухие отверстия для укрепления с основной конструкцией пресса. Если нет финансовых возможностей, то узлы можно изготовить самостоятельно. В балке нужно сделать отверстие, куда должна войти пятка домкрата, практически без зазора. Затем делаем несколько отверстий для возвратного механизма.
Балки изготавливаем с открытыми гранями
Затем в верхней части узла привариваем отрезок трубы для посадки домкрата. Нижнюю часть привариваем при помощи уголков.
Роль переставной опорной балки
Для крепления переносной балки, подойдут стальные массивные пальцы. На вертикальной части рамы делаем ряд круглых просечек на разной высоте. Диаметр просечек должен совпадать с сечением всех болтов.
Крепление опорной балки
Установка возвратного механизма
Последняя деталь в конструкции гидравлического пресса, это возвратный или пружинный механизм. Здесь можно вставить обычные пружины для дверей. Задача может значительно усложниться при использовании верхней бабки, так как собственный вес может не позволить сжиматься пружинному механизму.
Увеличиваем число пружин
Совет! Один из вариантов, это увеличение числа пружин до 6-ти или использование более мощных деталей.
Если отсутствует верхняя колодка, то рекомендуется закрепить пружину к штоку при помощи шайбы. Если образовались излишки длины пружины, можно расположить их в наклонном состоянии.
Пресс своими руками: Чертежи
В процессе создания самоделки чертёж имеет значение отправной точки. Он позволит безошибочно собрать изделие. Стоит опираться на модель с увеличенной площадкой упора в землю. На этом экономить нельзя.


И вот почему? Если данная неудачная версия компактного пресса сломается в процессе эксплуатации, тогда легко травмироваться. Да. Именно безопасность в этом случае очень сомнительна. Потому выгоднее опираться на чертёж с увеличенной площадкой упора в землю.

Простой механический
Считается самым экономичным оборудованием для сжатия в домашних условиях. Для его создания не потребуется много времени, инструментов и материалов. Но не стоит рассчитывать на высокий уровень функциональности. Далее рассмотрим несколько, более, надёжных моделей.

Гидравлический
Предназначен для множества операций. Отличается простой конструкцией. Для изготовления, необходима сварка, дрель и болгарка. Станину выгоднее смастерить из швеллера.

Что потребуется:
- Надёжный швеллер;
- Уголок;
- Гидравлический домкрат от автомобиля;
- Набор болтов;
- Круглая труба;
- И различные пружины.

Этапы изготовления:
- Необходимо отрезать 3 заготовки швеллера. Они свариваются. Формируется основание, стойка и даже верхняя станина;
- Теперь отрезается 2 кусочка уголка. В них сверлятся отверстия для закрепления. Осуществляется сваривание уголков с основанием станины;
- Необходимо изготовить подвижную площадку;
- Для этого отрезается кусочек швеллера. В нём сверлится отверстие. Сюда вставляется втулка на основе круглой трубы. Она обваривается;
- Подвижная площадка надевается на круглую трубу. Она в свою очередь приваривается между основанием верхушки станины. Устанавливается вертикально;
- На боках основания и подвижной площадки, необходимо приварить болты. Они применяются для установки пружины;
- С основанием сваривается 2 ограничителя, созданные из квадратных прутиков. С нижней стороной подвижной площадки сваривается кольцо на основе трубы. В него входит шток домкрата. Пришло время смонтировать домкрат.

Останется закрепить пружины на болтах. И всё можно пользоваться данным прессом. В целом изготовление очень простое.











Для отжима сока
Легко изготовить у себя дома. Для этого не нужно много материалов и времени. Но можно получить замечательный яблочный сок.

Как изготовить по этапам:
- Используется металлическая ёмкость с множеством отверстий. Что-то, вроде, решето или дуршлага;
- Потребуется фильтр. Подойдёт чистый ранее не использованный мешок для строительного мусора. В него помещаются мелко нарезанные яблоки;
- В качестве поддона подойдёт противень от газовой плиты;
- Ёмкость накрывается крышкой от ненужной кастрюли;
- Сверху накладывается отрезок бруса подходящего размера;
- На него следует давить сверху автомобильным домкратом. Для устойчивости создаётся отверстие на торцевой части бруска, чтобы домкрат не соскользнул;
- Простая конструкция устанавливается на деревянную станину. Она скручивается сантехническими саморезами;
- Теперь сверху давим автомобильным домкратом. Сок вытекает в ведро. Необходимо регулярно удалять жмых, чтобы снова повторить действия.


Движение поршней гидравлической машины
Во многих отраслях используется принцип работы гидравлического пресса: в физике, строительстве, обработке материалов, сельском хозяйстве, автомобилестроении и т. д. Примеры применения гидравлических машин представлены на рисунке.

Рассмотрим все те же два сообщающихся сосуда с поршнями, но теперь мы будем обращать внимание не на силу, а на расстояние, которое проходят поршни при перемещении. Представим, что первоначальное их положение разное
Поршень площадью S расположен ниже поршня площадью s. Переместим меньший поршень на расстоянии h. Вода из меньшего сосуда перешла в больший и надавила на поршень. Он переместился на высоту H.

Зная соотношение между площадями, найдем соотношение между высотами. Объем, который ушел под давлением из левого цилиндра в правый, обозначим v. В правый цилиндр зашла жидкость объемом V. Жидкость несжимаема. Как это можно записать математически? v=V. Выразим объем через площадь и высоту. v=s*h и V=S*H. Значит, s*h=S*H. S/s=h/H. Следовательно, выигрыш в силе F/f=h/H. Это соотношение дает нам понимание принципа работы гидравлического пресса. Мы делаем вывод: поскольку F больше, чем f, то H меньше h, причем во столько же раз.
Допустим, гидравлическая машина дает выигрыш в силе в сто раз. Это значит, что если мы опустим меньший поршень на 100 мм, то другой поршень поднимется всего на 1 мм. А есть машины, которые дают выигрыш в силе в тысячу раз. А как же быть в случаях, когда на поршне стоит автомобиль и его нужно поднять на высоту нескольких метров?

Утилизация и переработка металлической стружки — секреты оптимизации технологических процессов
Технический прогресс привел к интенсивному использованию металла, ресурсы которого неумолимо сокращаются. Это приводит к дефициту и подорожанью этого сырья. Учитывая, что запасы руды небезграничны, а легкодоступный металлический лом практически исчерпан, возникает вопрос поиска новых возможностей пополнения сырья для возобновления запасов металла.
Одним из таких способов является сбор и последующая переработка металлической стружки, которая возникает в процессе обработки различных деталей на металлообрабатывающих станках.
Материал для данной статьи предоставил интернет магазин kerner.ru
Как происходит сбор и переплавка металлической стружки
Металлическая стружка является продуктом обработки различных металлических деталей с помощью разного рода технологического оборудования.
В процессе работы с деталями на заводах и предприятиях может образовываться большое количество стружки, общий вес которой может составлять до 10% от массы обрабатываемых деталей. Это очень большое количество отходов, которые могут успешно применяться в процессе повторной переработки для получения новых металлических заготовок.
Сбор и транспортировка стружки осложняется тем, что эти отходы имеют небольшую плотность. Это приводит к тому, что контейнер для сбора металлической стружки быстро наполняется, а для перевозки отходов на перерабатывающее предприятие требуется большое количество транспортных средств или много дополнительных рейсов.
Проблемы возникают и в процессе переработки необработанной стружки. Если переплавка производится непрессованной стружки, то возникают существенные потери металла вследствие большого угара этого вторсырья и окисления легирующих элементов, содержащихся в стальной стружке. Это в свою очередь приводит к снижению качества получаемой стали.
Чтобы исключить перечисленные проблемы, на предприятиях используют специальные механизированные системы для сбора, хранения и транспортировке стружки и подготовки ее к последующей утилизации и переработке.
Процесс сбора и переработки металлических отходов производства
Переработка производственных отходов в виде металлической стружки подразумевает под собой повторную переплавку этого вторсырья с целью получения нового металла.
Процесс переработки представляет собой достаточно трудоемкий процесс, который заключается в проведении следующих процедур:
- сбор металлической стружки;
- измельчение;
- очистка и осушение стружки от СОЖ;
- прессование или брикетирование.
В результате таких процедур можно получить компактные брикеты вторсырья, которые удобно транспортировать и которые, в процессе переплавки, не дают большой процент угара, а позволяют получить большие объемы высококачественной стали.
Как сделать пресс из домкрата своими руками?
В основу данного оборудования входит надежная рама. Она изготавливается из швеллера или металлических углов.
Как сделать самодельный пресс из домкрата своими руками, чертеж
| Шаг | Описание |
Рама используется со сдавливющим усилием до 5 тонн | 1 (упорна балка сверху); 2 (крепежные элементы); 3 (домкрат до 20 т); 4 (пружинный механизм); 5 (подвижная конструкция); 6 (стопор); 7 (приспособление для регулировки); 8 (поперечная конструкция); 9 (опорные ножки). |
| Все надежно закреплено | Возможны два варианта: при помощи, что надежнее. Есть монтаж на болтах |
| Здесь необходимо точно рассчитать усилие пресса |
Монтаж балки понадобится для большей жесткости | Опорный элемент можете придумать сами, в зависимости от воображения. Наличие перекладины снизу обязательно, для жесткости. |
Совет! При производстве гидравлического пресса из домкрата в первую очередь нужно обеспечить прочность рамы, именно на нее будет оказываться нагрузка.
Какой домкрат подойдет для нашей конструкции
На сегодняшний день чаще всего используется для производства гидравлического пресса стаканный домкрат. Есть недорогие устройства, которые в состоянии выжимать более двадцати тонн.
Стаканный гидравлический домкрат
Примечание! Но есть проблема в использовании подобного оборудования, они не способны функционировать в перевернутом состоянии.
Вроде логично, закрепить домкрат на верхней балке, а нижнюю использовать, как опору, но в этом случае домкрат придется дорабатывать.
Переделка конструкции:
- Вариант 1: устанавливаем бак и связываем его с отверстием для заливки домкрата при помощи силиконовой трубки.
- Вариант 2: потребует новой разработки самого домкрата.
Работа системы прижима
Чтобы сделать пресс из гидравлического домкрата своими руками, предусматривается формирование штока. Многие мастера утверждают, что он не удобен в работе. Нужна большая площадь для разработки различных, крупных пресс-форм и деталей больших габаритов.
В роли колодок можно использовать чушки, в которых делаются глухие отверстия для укрепления с основной конструкцией пресса. Если нет финансовых возможностей, то узлы можно изготовить самостоятельно. В балке нужно сделать отверстие, куда должна войти пятка домкрата, практически без зазора. Затем делаем несколько отверстий для возвратного механизма.
Балки изготавливаем с открытыми гранями
Затем в верхней части узла привариваем отрезок трубы для посадки домкрата. Нижнюю часть привариваем при помощи уголков.
Роль переставной опорной балки
Для крепления переносной балки, подойдут стальные массивные пальцы. На вертикальной части рамы делаем ряд круглых просечек на разной высоте. Диаметр просечек должен совпадать с сечением всех болтов.
Крепление опорной балки
Установка возвратного механизма
Последняя деталь в конструкции гидравлического пресса, это возвратный или пружинный механизм. Здесь можно вставить обычные пружины для дверей. Задача может значительно усложниться при использовании верхней бабки, так как собственный вес может не позволить сжиматься пружинному механизму.
Увеличиваем число пружин
Совет! Один из вариантов, это увеличение числа пружин до 6-ти или использование более мощных деталей.
Если отсутствует верхняя колодка, то рекомендуется закрепить пружину к штоку при помощи шайбы. Если образовались излишки длины пружины, можно расположить их в наклонном состоянии.































Гидравлический пресс своими руками из домкрата чертеж с болтовым соединением




