Содержание
Слайд 1
Слайд 2
Назначение цепной передачи
Цепная передача — это устройство для передачи механической энергии между удаленными валами при помощи гибкого элемента — цепи, за счёт сил зацепления.
Слайд 3
Цепная передача состоит из ведущей и ведомой звездочки и цепи. Цепь состоит из подвижных звеньев. Звенья цепной передачи
Слайд 4
– Большая прочность по сравнению с ремнем позволяет передать цепью большие нагрузки; – возможность передачи движения одной цепью нескольким звездочкам; — возможность передачи вращательного движения на большие расстояния (до 7 м); – сравнительно высокий КПД (>> 0,9 ÷ 0,98); – отсутствие скольжения (постоянство передаточного числа; – малые силы, действующие на валы, так как нет необходимости в большом начальном натяжении; – возможность легкой замены цепи. Достоинства цепной передачи
Слайд 5
Неравномерность хода, возрастающая по мере уменьшения числа зубьев звёздочек и увеличения шага звеньев; повышенный шум и износ цепи при неправильном выборе конструкции, небрежном монтаже и плохом уходе; необходимость в смазке и устранении провисания холостой ветви по мере износа цепи. Недостатки цепной передачи
Слайд 6
Ц. п. различаются по конструкции применяемых цепей, количеству звёздочек (простые — с двумя, сложные — с тремя и большим числом звёздочек, в том числе одна или несколько ведомых и натяжных), расположению контура цепи в пространстве (вертикально-замкнутые, горизонтально-замкнутые, пространственные — со скрещивающимися осями звёздочек); расположению линии, соединяющей центры звёздочек (горизонтальные, вертикальные, наклонные); расположению ведущей (рабочей) ветви (верхнее и нижнее); способу преобразования частоты вращения ведущего вала (понижающие и повышающие); количеству параллельных контуров цепей; способу регулирования натяжения цепи; способу защиты цепей от загрязнения (открытые и закрытые кожухом, картером, чехлом. Классификация цепных передач
Слайд 7
Виды цепных передач α – втулочно-роликовая однорядная цепь; б – многорядная втулочно-роликовая цепь; в – пластинчатая цепь; г – цепная передача с 4-мя звездочками; d – цепная передача с натяжной звездочкой; е – закрытая цепная передача.
Слайд 8
Цепи цепных передач и звездочка α – втулочно-роликовая цепь; б –пластинчатая цепь.
Слайд 9
Широкое применение цепных передач началось с появлением втулочных и втулочно-роликовых цепей, обеспечивающих передачу мощности до 5000 кВт при высоких скоростях движения (до 35 м/сек), больших усилиях (до 700 Мн с несколькими параллельными контурами многорядных цепей) Втулочно-роликовая цепь
Слайд 10
Втулочно-роликовая цепь дает значительное передаточное отношение (до 12) и высокий кпд (до 0,99). Втулочно-роликовая цепь
Слайд 11
= = где n1и n2 – частота вращения ведущей и ведомой звездочек , ω1 иω2 – угловые скорости ведущей и ведомой звездочек, Z1и Z2 – числа зубьев ведущей и ведомой звездочек.
Слайд 12
Область применения цепной передачи Закрытые цепные передачи
Слайд 13
Область применения цепной передачи
Ц. п. применяются в с.-х. машинах, велосипедах, мотоциклах, автомобилях, строительно-дорожных машинах, в нефтяном оборудовании и т. д. Преимущественное распространение имеют открытые Ц. п., работающие без смазки, или с периодической ручной смазкой, с однорядными втулочно-роликовыми цепями, непосредственно встроенные в машины
Слайд 14
Область применения цепной передачи
Посмотреть все слайды
Экскурс по производителям
Как и в случае большинства автомобильных комплектующих, цепи делят на оригинальные и неоригинальные
Практически все автоконцерны закупают цепи у сторонних производителей, которые имеют хорошую репутацию, большой опыт работы и уделяют максимум внимание качеству изделий
Важно учитывать, для удовлетворения нуждо вторичного рынка автозапчастей большинство таких производителей выпускает цепи в комплекте со смежными элементами ГРМ и уплотнителями. Помимо цепи в комплект входят звезды, успокоитель, натяжитель и башмак. Наиболее качественные детали ГРМ предлагают такие фирмы:
Наиболее качественные детали ГРМ предлагают такие фирмы:
Помимо цепи в комплект входят звезды, успокоитель, натяжитель и башмак. Наиболее качественные детали ГРМ предлагают такие фирмы:
- INA (Германия);
- SKF (Швеция);
- DID (Япония);
- BGA (Великобритания);
- IWIS (Германия);
- Dayco (США).
Кроме того, цепи и комплекты для оснащения ГРМ предлагают упаковщики. Например, немецкие Febi и Swag. Качество их продукции вполне удовлетворительно. Дело здесь в том, что большую часть цепей изготавливает ограниченное число фирм. Их же продукцию реализуют фирмы-упаковщики. Чего действительно стоит опасаться, так это подделок и продукции азиатских «нонейм» производителей. Дешевые цепи имеют не очень большой эксплуатационный ресурс и довольно часто рвутся. Обрыв цепи нередко влечет за собой необходимость в проведении капитального ремонта двигателя.
Материал цепей
Все детали цепного механизма должны отлично противиться очень высоким статическим и ударным нагрузкам, и быть довольно устойчивыми к износу. Боковые пластины производят из очень прочных сплавов, они работают по большей части на растяжение. Оси, втулки, ролики, вкладыши и призматические детали создаются из очень прочных и отлично цементируемых сплавов. Цементация проходит на глубину до 1,5 мм и обеспечивает хорошую устойчивость к изнашиванию трением. После чего детали подвержены термической обработке закаливанием. Твердость доводится до 65 ед.
Зубчатые колеса производят из легированных сталей, также подвергающихся закалке до 60 ед.
Для передач небольшой скорости и мощности, при умеренных параметрах разгона и торможения используют ковкие чугуны.

Для уменьшения шума и увеличения плавности хода при ограниченных мощностях применяют шестеренки из текстолита или прочных пластмасс. Используют также наплавку железных и нанесение покрытий на основе полимеров на детали и узлы, которые работают в агрессивной среде.
Достоинства цепных передач
В сравнении с ремёнными передачами они характеризуются следующими достоинствами:
- отсутствие проскальзывания;
- компактность (занимают значительно меньше места по ширине);
- постоянство среднего передаточного отношения;
- отсутствие предварительного натяжения и связанных с ним дополнительных нагрузок на валы и подшипники;
- передача большой мощности как при высоких, так и при низких скоростях;
- сохранение удовлетворительной работоспособности при высоких и низких температурах;
- приспособление к любым изменениям конструкции удалением или добавлением звеньев.
- возможность передачи движения одной цепью нескольким звездочкам;
- по сравнению с зубчатыми передачами — возможность передачи вращательного движения на большие расстояния (до 7 м);
- сравнительно высокий КПД (> 0,9 ÷ 0,98);
- возможность легкой замены цепи.
ЗУБЧАТЫЕ
Изделия, относящиеся к этой категории, состоят из пластин двух разновидностей:
- Основные. Сопрягаются с зубцами «звездочки» за счет плоских поверхностей.
- Направляющие. Центрируют цепь относительно «звездочек», в которых предусмотрена канавка, расположенная в середине венца.
По сравнению с роликовыми, зубчатые позволяют достичь повышенных рабочих скоростей. Также они отличаются плавностью хода, надежностью. Это достигается за счет многопластинчатой конструкции. При этом вес их больше, они сложнее в производстве, дороже.
Разные типы зубчатой цепи различают по конструктивным особенностям шарнира. Чаще всего применяется шарнир качения, он отличается отсутствием валика, вкладыши состоят из двух сегментов. При движении пластин они перекатываются, такой механизм обеспечивает повышение КПД, сроков эксплуатации изделия.
Реже встречаются конструкции с шарниром скольжения. Вкладыши в них закреплены на пластинах по ширине цепи, взаимодействуют с валиком напрямую. Они позволяют осуществить поворот пластин до 30 градусов в обе стороны.

Сборка цепных передач
Цепная передача состоит из двух звездочек – ведущей и ведомой, сидящих на валах и соединенных бесконечной цепью.
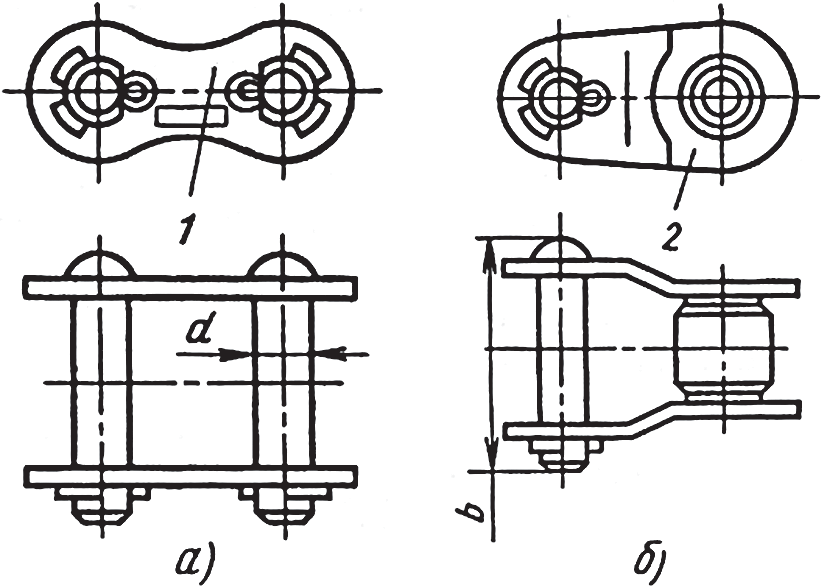
Цепная передача состоит из установленных на валы звездочек, связанных между собой цепью. По конструкции цепи бывают втулочно-роликовые (рис. 6, а) и зубчатые (рис. 6, б). Втулочно-роликовые цепи применяются для передач с малым числом оборотов, а зубчатые – с большим числом оборотов. Роликовые цепи допускают наибольшую скорость до 18 м/с, пластинчатые – до 30 м/с.

Рис. 6. Цепная передача: а – с втулочно-роликовой цепью; б – с пластинчатой цепью
Сборка цепной передачи состоит из установки и закрепления звездочек на валах, надевании цепи и регулировании. Звездочки на валах устанавливают так же, как и зубчатые колеса. После закрепления звездочки на валу ее следует проверить на радиальное и торцовое биение (табл. 1).
Таблица 1. Допустимое биение звездочек для втулочно-роликовых цепей, мм
| Диаметр | Биение радиальное торцовое | |
| До 100 | 0,25 | 0,3 |
| 100-200 | 0,5 | 0,5 |
| 200-300 | 0,75 | 0,8 |
| 300-400 | 1,0 | 1,0 |
Для правильной работы цепной передачи оси звездочек должны быть параллельны. Параллельность осей звездочек проверяют линейкой, уровнем или другими средствами (рис. 7, а). При сборке проверяют также относительное смещение звездочек в плоскости их осей (табл. 2).
Таблица 2. Допустимое относительное смещение звездочек в плоскости их осей, мм
| Межцентровое расстояние | Смещение |
| До 500 | 1,0 |
| 500-1000 | 1,5 |
| Свыше 1000 | 2,0 |
Допускается незначительный перекос (рис. 7, а) или смещение параллельно плоскости линейки (рис. 7, б), обеспечивающие плавное сбегание и набегание цепи.

Рис. 7. Схема проверки правильности установки звездочек: а – при перекосе; б – при параллельном смещении оси
Длину цепи выбирают в зависимости от расстояния между центрами звездочек.
Цепи не должны быть чрезмерно натянуты, но и не должны иметь большого провисания. Шаг цепи должен строго соответствовать шагу звездочки или зубчатого колеса, иначе звенья цепи будут набегать на зубья звездочек, а это вызовет поломку звездочки или обрыв цепи.
Валы, на которых расположены звездочки, должны быть параллельны между собой; средние линии звездочек должны лежать в одной плоскости.
Концы отрезка цепи соединяют при помощи соединительных или переходных звеньев. Для втулочно-роликовой цепи соединительное звено представляет собой два валика, скрепленных пластинками (рис. 8, а).

Рис. 8. Соединительные звенья цепи
Таким звеном можно соединить только цепь, имеющую четное число звеньев. Для соединения концов цепи одну пластину снимают, валики вставляют в отверстия втулок конечных звеньев, затем устанавливают снятую пластину и зашплинтовывают валики. Если требуется собрать цепь с нечетным числом шагов, то вводится переходное звено (рис. 8, б). По такой же схеме собираются другие типы цепей.
При монтаже на звездочках для стягивания цепи применяют специальные стяжки (рис. 9).

Рис. 9. Приспособления для соединения звеньев втулочно-роликовой и зубчатой цепи
Установленная на звездочки цепь должна иметь некоторое провисание. Для горизонтальных цепных передач минимальная стрела провисания (в мм):
fmin = 11, 4√A3 ;
максимально допустимая стрела провисания:
2.1. Технические требования, предъявляемые к сборке цепных передач
Оси валов, на которых расположены звездочки, должны быть взаимно параллельны (допустимое отклонение 0,1 мм на длине 1000 мм).
Звездочки не должны быть смещены одна относительно другой в плоскости движения цепи. Допустимое смещение звездочек составляет 1-2 мм на каждые 1000 мм.
Пластины цепи должны быть параллельны между собой. Цепи не должны быть чрезмерно натянутыми, но и не должны иметь большого провисания.
Шаг цепи должен строго соответствовать шагу звездочки, иначе звенья цепи будут набегать на зубья звездочки, а это вызовет поломку зубьев или обрыв цепи.
Передачи должны работать плавно, без рывков. Допустимое биение оговаривается в технических условиях.
Пригонка и посадка звездочек на валы и выверка их производятся так же, как и у зубчатых колес.
Просмотров: 2 651
Цепные передачи
Общие сведения о цепных передачах
Цепная передача относится к передачам зацеплением с гибкой связью. Мощность в цепной передаче посредством многозвенной шарнирной цепи передается от ведущей к ведомой звездочке, размещенных на параллельных валах.
***
Классификация цепных передач
Цепные передачи классифицируют по типу применяемой цепи. В настоящее время применяют роликовые, втулочные и зубчатые цепи, которые, в свою очередь, могут быть однорядными и многорядными.

В роликовых и втулочных цепях зацепление звеньев со звездочкой осуществляется через ролик или втулку, при этом долговечность цепи возрастает, но возрастает ее масса и стоимость.
Зубчатые цепи набирают из пластин, при этом большое значение на эксплуатационные качества цепи имеет конструкция шарнира. В конструкцию входит направляющая пластина, предотвращающая сползание цепи со звездочки.
По сравнению со втулочными зубчатые цепи работают более плавно, обеспечивают большую кинематическую точность (плавность хода передачи), могут передавать бóльшую мощность, имеют высокий КПД, но их масса и стоимость значительно выше.
В зависимости от типа применяемой цепи зависит конструкция звездочек цепной передачи. Звездочки для втулочной и роликовой цепи представлена на рис. 2 слева, звездочка для зубчатой цепи – справа.
***
Достоинства цепных передач
По сравнению с зубчатыми передачами:
Преимущество цепных передач в сравнении с зубчатыми заключается в том, что они способны передавать движение между валами при значительных межосевых расстояниях (до 8 м).
По сравнению с ременными передачами:
По сравнению с ременными передачами (передачами трением) цепные передачи (передачи зацеплением) выгодно отличаются компактностью, способностью передавать бóльшие мощности при одинаковых размерах, постоянством передаточного числа и меньшей требовательностью к предварительному натяжению цепи (иногда предварительный натяг для цепных передач не применяется).
Кроме того, цепные передачи устойчиво работают при малых межосевых расстояниях между звездочками, тогда как ременная передача может пробуксовывать при малых углах обхвата шкива ремнем.
К достоинствам цепных передач можно отнести высокий КПД и безотказность при работе в условиях частых пусков и торможений.
***
Недостатки цепных передач
1. Значительный шум и вибрация при работе вследствие удара звена цепи о зуб звездочки при входе в зацепление, особенно при малых числах зубьев и большом шаге (этот недостаток ограничивает применение цепных передач при больших скоростях).
2. Сравнительно быстрое изнашивание шарниров цепи, необходимость применения системы смазывания и установки в закрытых корпусах.
3. Удлинение цепи вследствие износа шарниров и сход ее со звездочек, что требует применения натяжных устройств.
4. По сравнению с зубчатыми передачами цепные передают движение менее плавно и равномерно.
***
Область применения цепных передач
Цепные передачи находят широкое применение во многих областях машиностроения, конструкциях сельскохозяйственных и дорожных машин, станкостроении и т. д.
Их применяют в станках, мотоциклах, велосипедах, промышленных роботах, буровом оборудовании, подъемно-транспортных, строительно-дорожных, сельскохозяйственных, полиграфических и других машинах для передачи движения между параллельными валами на значительные расстояния, когда применение зубчатых передач нецелесообразно, а ременных невозможно.
Цепные передачи наибольшее применение получили для передачи мощностей до 120 кВт при окружных скоростях до 15 м/сек.
***
Основные параметры цепных передач
Функционирования устройства изменяющего передающее усилие цепного типа зависит от особенности звездочных компонентов: правильность их производства, закал поверхности зубьев, металла и качества обработки. Габариты и формы звезд, изготовляются согласно величинам выбранной цепи и передаточного отношения, которая определяет количество зубьев меньшей ведущей звездочки. Передаточное число цепной передачи, в процессе работы изменяется и высчитывается аналогично передаточному значению цилиндрической . Сборка цепной передачи ограничивается установкой и закреплением звездочек на валах, надеванию цепи и ее регулировке.
Производя расчет цепной передачи, необходимо воздерживаться от тупых углов между линией, которая совмещает центры звездочек, и горизонтальной линией. Ведущую ветвь размещают обычно сверху. В передачах с большими углами подъема необходимо не забывать об натяжных устройствах. Цепные передачи, из-за неминуемого растяжения цепных звеньев, вследствие износа и смятия в шарнирах, обычно требуют возможности регулирования их натяжения.

Первоначальное натяжение важно только в вертикальных передаточных действиях. В горизонтальных и наклонных передаточных процессах соединение цепного приспособления со звездочными элементами, гарантируется натяжением от силы тяжести конкретного цепного звена, стрела же провисания цепного соединения обязана быть оптимальной в перечисленных изначально границах
Натяжители и успокоители цепей
Пример HTML-страницы
Применение постоянно действующих натяжителей и успокоителей (см. рис. «Цепной привод механизма газораспределения» ), точно согласованных с конкретным двигателем, позволяет оптимизировать цепную передачу таким образом, что срок ее службы будет соответствовать сроку службы двигателя.
Натяжитель цепи
Натяжитель цепи (гидравлический) выполняет в приводе механизма газораспределения ряд задач. С одной стороны, цепь при любых условиях работы должна иметь надлежащее натяжение ведомой ветви при определенной нагрузке, даже в случае удлинения вследствие износа, возникающего в процессе эксплуатации. Снижение вибрации до приемлемого уровня осуществляется фрикционным или вязкостным демпфирующим элементом.
В приводах масляных насосов, работающих в условиях низких нагрузок, как правило, применяются механические натяжители цепи без дополнительного гидравлического демпфирования. В особых случаях эти механические натяжители цепи могут отсутствовать.
Успокоитель цепи
Иногда в качестве натяжных и направляющих элементов используются простые успокоители. Они изготавливаются из пластмассы или металла (алюминия или листовой стали). По форме успокоители цепи бывают плоскими или изогнутыми, в зависимости от трассы цепи. В последнее время применяются недорогие, литые под давлением, пластмассовые успокоители двухкомпонентной конструкции (основа и фрикционная накладка).
В случае натяжных успокоителей фрикционный слой не содержащего стекловолокна полиамида напыляется или наклепывается на основу из термостойкого полиамида с содержанием стекловолокна от 30 до 50%. Для направления цепи используются однокомпонентные пластмассовые направляющие скольжения.
РЕКОМЕНДУЮ ЕЩЁ ПОЧИТАТЬ:
Пример HTML-страницы
Из чего изготавливаются зубчатые колеса и шестерни

Как правило, в основе зубчатого колеса лежит сталь. При этом шестерня должна иметь большую прочность, так как сами колеса могут иметь разные характеристики по прочности.
По этой причине шестерни изготавливаются из разных материалов, а также такие изделия проходят дополнительную термическую обработку и/или комплексную химическую и температурную обработку.
Например, шестерни, которые выполнены из легированной стали, также проходят процесс упрочнения поверхности, в рамках которого может быть использован метод, позволяющий добиться желаемых характеристик (азотирование, цементация или цианирование). Если для изготовления шестерни используется углеродистая сталь, такой материал проходит поверхностную закалку.
Что касается зубьев, для них предельно важна прочность поверхности, а также сердцевина должна быть мягкой и вязкой. Данные характеристики позволяют избежать излома и быстрого износа рабочей нагруженной поверхности. Еще добавим, что колесные пары механизмов, где нет больших нагрузок и высокой частоты вращения, изготавливают из чугуна. Также можно встретить в качестве материала для изготовления колесных пар бронзу, латунь и даже всевозможные виды пластика.
Сами зубчатые колеса выполняются из заготовки, полученной методом литья или штамповки. Затем применяется метод нарезки зубьев. Нарезка осуществляется путем использования методов копирования, обкатки. Метод обкатки дает возможность изготовить зубья разной конфигурации при помощи одного инструмента (долбяк, червячные фрезы, рейка).
Чтобы осуществить нарезку методом копирования, требуются пальцевые фрезы. После нарезки выполняется термическая обработка. Если же нужно зацепление высокой точности, после такой термообработки дополнительно выполняется шлифовка и обкатка.
Преимущества и недостатки цепной передачи
Кроме цепных, существуют еще и ременные передачи. Однако в большинстве случаев прибегают именно к цепным, так как они обладают рядом немаловажных достоинств:
- Отсутствие проскальзывания, как это при определенных условиях бывает в ременных передачах.
- Можно обеспечить высокую степень компактности механизма.
- Средний показатель передаточного отношения находится на постоянном уровне.
- Благодаря отсутствию такого явления, как предварительное натяжение, отсутствуют второстепенные нагрузки на ключевые узлы механизма.
- Даже если скорость падает, показатели мощности остаются довольно высокими.
- Цепные передачи практически не чувствительны к влажностным и температурным перепадам.
- Можно быстро адаптировать такую передачу практически под любые механизмы, если прибавить или удалить цепное звено.
- При необходимости можно передать вращательный момент сразу нескольким звездочкам посредством всего одной цепи.
- Можно организовывать передачу вращательного момента на довольно большие расстояния – до 7 метров.
- Цепная передача отличается большим коэффициентом полезного действия – порядка 98 процентов.
- При необходимости вышедшие из строя звенья, саму цепь или звездочки можно быстро заменить.
Однако имеются у цепных передач и определенные недостатки:
- При длительной интенсивной эксплуатации шарниры в звеньях цепей изнашиваются, что приводит к растяжению пластин и увеличению общей длины цепи.
- Передачу можно применять без необходимости останавливать движение во время реверсированного хода.
- Цепь в некоторых видах механизмов достаточно сложно смазывать.
- Можно наблюдать неравномерность передаточного отношения и, как следствие, неравномерность скорости. Особенно данный эффект заметен в случае, если звездочка не обладает большим числом зубцов.
Все перечисленное следует непременно учитывать, делая выбор между цепными и ременными разновидностями передач.
Монтаж – цепная передача
Монтаж цепной передачи сводится к установке и закреплению звездочек на валах, надеванию цепи, ее натяжению с помощью различных приспособлений и регулировке. После установки и закрепления звездочек на валу их проверяют на радиальное и торцевое биение с помощью индикаторов.
Монтаж цепных передач производится так же; как и ременных. Выверка звездочек ничем не отличается от выверки шкивов. При укладке цепи нужно иметь в виду, что цепь не должна быть сильно натянутой, так как в этом случае получаются сильные удары.
Монтаж цепной передачи целесообразно начинать комплексной проверкой соответствия цепи и звездочек путем укладки цепи на зубья звездочки на дуге обхвата больше трех четвертей длины окружности. При этом цепь должна свободно, без ощутимых зазоров располагаться на зубьях звездочки. В противном случае монтаж передачи прекращают и проводят проверку точности звездочек и цепи с целью выявления причин их несопряжения.
Качество монтажа цепной передачи сильно влияет на ее работоспособность.
Качество монтажа цепной передачи существенно влияет на ее долговечность.
Почему при монтаже цепной передачи звездочки устанавливают строго в одной плоскости.
Наиболее ответственной операцией монтажа цепной передачи является установка зубчатых венцов звездочек в одной плоскости и устранение их осевых зазоров. При этом одну звездочку жестко закрепляют на валу, а другую перемещают в нужное положение вдоль вала, после чего звездочки и валы закрепляют.
Поэтому погрешности изготовления и монтажа цепных передач должны быть в пределах допускаемых значений. На практике при расчете цепных передач буровых установок динамические нагрузки учитываются коэффициентом перегрузки.
На основании изложенного при монтаже цепных передач необходимо обеспечить установку валов и звездочек с минимальными погрешностями, обратив особое внимание на точное расположение звездочек в одной плоскости.
| Предельное увеличение шага цепи, %. |
Если в конструкции узла нет натяжных приспособлений, то при монтаже цепной передачи необходимое натяжение создают с помощью струбцин.
Данный метод рекомендуется в мелкосерийном и единичном производствах, а также при монтаже цепных передач, у которых при контроле монтажа по второму методу не удается выдержать значения 6i и ASO в допускаемых пределах.
Цепная передача имеет некоторые преимущества как перед зубчатой, так и перед ременной передачей. При большом межосевом расстоянии нет надобности в промежуточных зубчатых колесах, так что передача получается легкой; изготовление и монтаж цепной передачи не требуют той точности, которая обязательна для передачи зубчатыми колесами. Вместе с тем цепная передача обладает и некоторой податливостью. Действительно, в каждом шарнире имеется тонкий слой смазки, а поскольку количество шарниров в цепи велико, то смазка придает цепи определенную упругость и амортизирует толчки и удары. В отличие от ремня цепь передачи не требует предварительного натяжения, а поэтому подшипники валов менее нагружены. Цепь работает сравнительно бесшумно, особенно если угол обхвата звездочек достаточно велик и если перед сборкой передачи цепь была смазана.
Цепная передача способна передавать весьма большие силы, осуществлять передаточные отношения до i 1: 7, а в некоторых случаях и до г – 1; 15 – Цепная передача имеет некоторые преимущества как перед зубчатой, так и перед ременной передачей. При большом межосевом расстоянии нет надобности в промежуточных зубчатых колесах, так что передача получается легкой; изготовление и монтаж цепной передачи не требуют той точности, которая обязательна для передачи зубчатыми колесами. Вместе с тем цепная передача обладает и некоторой податливостью. Действительно, в каждом шарнире имеется тонкий слой смазки, а поскольку количество шарниров в цепи велико, то смазка придает цепи определенную упругость и амортизирует толчки и удары. В отличие от ремня цепь передачи не требует предварительного натяжения, а поэтому подшипники валов менее нагружены. Цепь работает сравнительно бесшумно, особенно если угол обхвата звездочек достаточно велик и если перед сборкой передачи цепь была смазана.
Цепные передачи осуществляют при помощи втулочно-роликовой цепи. Профиль зуба звездочек определяют шагом цепи и диаметром ролика. Монтаж цепной передачи сводится к установке и закреплению звездочек на валах, надеванию цепи и ее регулировке.
2.3. Червячные передачи
Червячная передача применяется для передачи вращения от одного вала к другому, когда оси валов перекрещиваются. Угол перекрещивания в большинстве случаев равен 90º. Наиболее распространенная червячная передача (рис. 2.10) состоит из так называемого архимедова червяка, т.е. винта, имеющего трапецеидальную резьбу с углом профиля в осевом сечении, равным двойному углу зацепления (2α = 40°), и червячного колеса.
Рис. 2.10. Червячная передача
Геометрия червячных передач. В червячной передаче, так же как и в зубчатой, различают диаметры начальных и делительных цилиндров (рис. 2.11): dw1,dw2– начальные диаметры червяка и колеса; d1,d2 – делительные диаметры червяка и колеса. В передачах без смещения dw1 = d1,dw2 =d2. Точка касания начальных цилиндров является полюсом зацепления.
Червяки различают по следующим признакам: по форме поверхности, на которой образуется резьба, – цилиндрические (рис. 2.12, а) и глобоидные (рис. 2.12, б); по форме профиля резьбы – архимедовы и эвольвентные цилиндрические червяки.
Архимедов червяк имеет трапецеидальный профиль резьбы в осевом сечении, в торцевом сечении витки резьбы очерчены архимедовой спиралью.

Эвольвентный червяк представляет собой косозубое зубчатое колесо с малым числом зубьев и большим углом их наклона. Профиль витка в торцевом сечении очерчен эвольвентой.
Наибольшее применение в машиностроении находят архимедовы червяки, так как технология их производства проста и наиболее отработана. Архимедовы червяки обычно не шлифуют. Их используют, когда требуемая твердость материала червяка не превышает 350 НВ. При твердости 45 НRC и малой шероховатости рабочих поверхностей витков червяки делают эвольвентными, так как после термообработки шлифование их рабочих поверхностей по сравнению с архимедовыми червяками проще.
Профиль зубьев червячных колес в передачах эвольвентный. Поэтому зацепление в червячной передаче представляет собой эвольвентное зацепление зубчатого колеса с зубчатой рейкой. Угол наклона линии зуба червячного колеса β равен углу
подъема γ линии витка червяка. Минимальное число зубьев колеса из условия отсутствия подрезания
z2 = 24. Число витков (заходов) червяка определяется количеством ниток нарезки, отстоящих друг от друга на расстояние, называемое шагом, и начинающихся на торцах нарезной части червяка. Направление витков может быть правым или левым. Чаще применяется правая нарезка с числом заходов
z1 = 1…4. Рекомендуют
z1 = 4 при передаточном отношении
u = 8…15;
z1 = 2 при
u = 15…30;
z1 = 1 при
u > 30.





































